| 事项名称 |
企业经济性裁员报告服务指南
|
| 设定依据 |
1.《中华人民共和国劳动法》第二十七条:用人单位濒临破产进行法定整顿期间或者生产经营状况发生严重困难,确需裁
减人员的,应当提前三十日向工会或者全体职工说明情况,听取工会或者职工的意见,经向劳动行政部门报告后,可以
裁减人员。第三十四条:集体合同订立后应当报送劳动行政部门……。
2.《中华人民共和国劳动合同法》第四十一条:……需要裁减人员二十人以上或者裁减不足二十人但占企业职工总数百分
之十以上的,用人单位提前三十日向工会或者全体职工说明情况,听取工会或者职工的意见后,裁减人员方案经向劳动
行政部门报告,可以裁减人员……。第五十四条:集体合同订立后,应当报送劳动行政部门……。
3.《中共中央国务院关于构建和谐劳动关系的意见》(中发〔2015〕10号)(八)全面实行劳动合同制度。……全面推进
劳动用工信息申报备案制度建设,加强对企业劳动用工的动态管理。
4.《工资集体协商试行办法》(中华人民共和国劳动和社会保障部令第9号)第六条:县级以上劳动保障行政部门依法对工
资协议进行审查,对协议的履行情况进行监督检查。第二十一条:工资协议签订后,应于7日内由企业将工资协议一式三
份及说明,报送劳动保障行政部门审查。
5.《集体合同规定》(中华人民共和国劳动和社会保障部令第22号)第四十二条:集体合同或专项集体合同签订或变更
后,应当自双方首席代表签字之日起10日内,由用人单位一方将文本一式三份报送劳动保障行政部门审查。
6.《关于建立劳动用工备案制度的通知》(劳部发﹝2006﹞46号)全文。 7. 内蒙古自治区企业集体合同条例(2000年自治区人大常委会公告第45号。第十六条企业应当在集体合同签订后7日内,将集体合同文本及相关材料报送旗县级以上人民政府劳动和社会保障行政部门审查。
8.内蒙古自治区企业工资集体协商条例(2012年自治区人大常委会公告第41号)第二十七条:企业应当在工资集体写合同签字后七日内,将工资集体合同文本及相关材料报送旗县级以上人民政府人力资源和社会保障行政部门审查。
|
| 受理条件 |
需要裁减人员二十人以上或者裁减不足二十人但占企业职工总数百分之十以上的,用人单位提前三十日向工会或者全体职工说明情况,听取工会或者职工的意见后,裁减人员方案经向劳动行政部门报告,可以裁减人员:1、依照企业破产法规定进行重整的;2、生产经营发生严重困难的;3、企业转产、重大技术革新或者经营方式调整,经变更劳动合同后,仍需裁减人员的;4、其他因劳动合同订立时所依据的客观经济情况发生重大变化,致使劳动合同无法履行的。
|
| 办理材料 |
|
材料名称 |
来源渠道 |
材料
类型 |
纸质材料份
数 |
材料
形式 |
材料
必要性 |
是否
留存
纸质 |
是否
信息
共享
可获得 |
|
企业裁减人员报告书,
包括企业裁员基本信息及相关说明。 |
通过人社业务“一网通办”
系统在线填报 |
原件 |
1份 |
电子 |
必要 |
否 |
否 |
|
《企业裁员方案》 |
通过人社业务“一网通办”
系统在线填报 |
原件 |
1份 |
电子 |
必要 |
否 |
否 |
|
听取工会意见情况及职工大会(职代会)征求意见
情况或决议相关材料
(有上级主管部门或单位的,
提交主管部门或单位的批复材料)。 |
通过人社业务“一网通办”
系统在线填报 |
原件 |
1份 |
电子 |
必要 |
否 |
否 |
|
| 办理地点 |
赤峰市新城区大明街8号市社保局一楼6号窗口
|
| 办理机构 |
赤峰市政务服务大厅人社分厅
|
| 收费标准 |
不收费
|
| 办理时间 |
周一至周五 上午8:30-12:00;下午14:30-17:30(法定节假日除外)
|
| 联系电话 |
0476-8825297
|
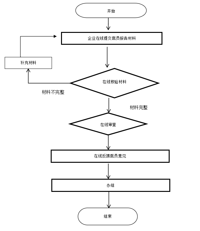
| 办理流程 |
|